疆能电气有限公司

户内绝缘子,传感器

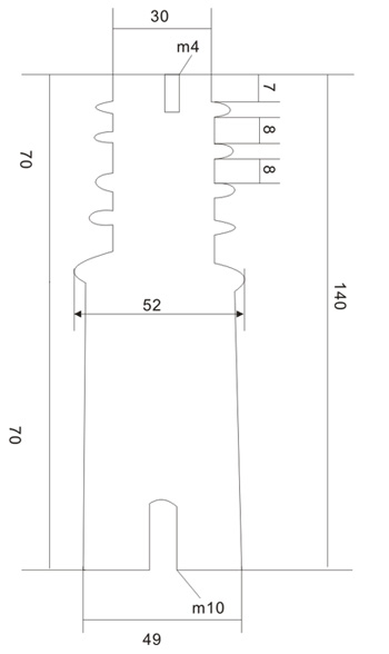
CG7-10Q/52×140 FN25户内高压带电显示装置传感器

CG7-10Q/52×140 FN25户内高压带电显示装置传感器

CG7-10Q/52×140 FN25户内高压带电显示装置传感器

品牌:疆能电气
类别:户内绝缘子,传感器

立即咨询立即咨询
热线电话 400-600-2722
CG7-10Q/52×140 FN25户内高压带电显示装置传感器适用于额定电压3.6、7.2、12、40.5kV,频率为50HZ的户内高压电气设备中,与电压指示器配套使用,具有反映高压回路带电状况,并且可以实现强制闭锁功能。防止误入带电间隔,还可与隔离开关、接地开关等其它高压电器设备配套使用,提高配套产品的防误性能。

联系电话

13868889777

地址:上海市浦东新区万祥镇宏祥北路83弄1-42号20幢118室

手机:13868889777

网址:Http://www.jiangneng.co

COPYRIGHT © 2021 上海疆能电气有限公司 VS1 ZW32 ZW20 FZN25 KYN28 HXGN15 ALL RIGHTS RESERVED 版权所有 浙ICP备12005340号-1 houtai